Propriedade Intelectual da UFG
Código do pedido/registro
BR 10 2023 025702 0
Título
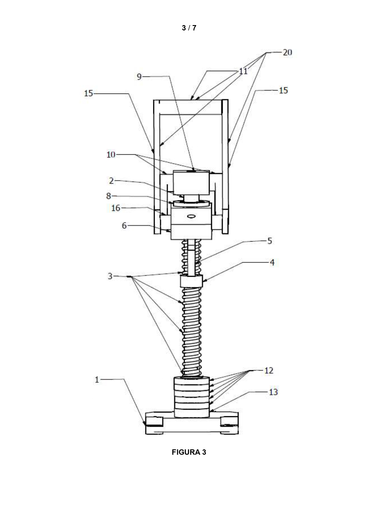
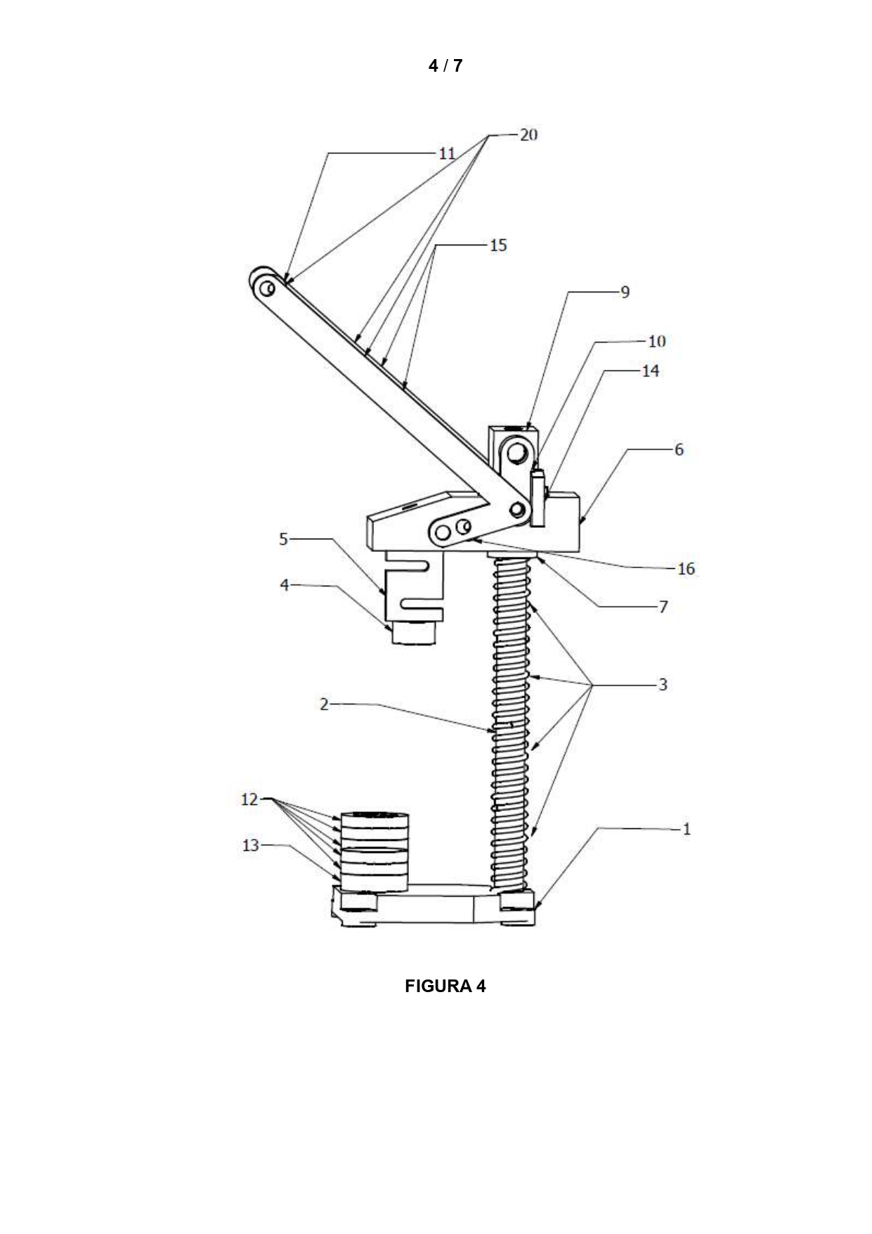
EQUIPAMENTO E MÉTODO PARA A PRODUÇÃO DE AMOSTRA CILÍNDRICA DO TIPO ARGAMASSA AREIA-ASFALTO
Tipo do Pedido/Registro
Patente de Invenção
Observações
Categoria(s)
Construção Civil
Inventor(es)
- KAROLAYNE PERES DE MELO
- LILIAN RIBEIRO DE REZENDE
- RODRIGO MALUF BARELLA
- TALLYTA DA SILVA CURADO
Objetivo da UFG
Licenciamento
Situação
Estágio que se encontra a tecnologia (TRL)
TRL 4 - Validação da função crítica do componente em ambiente de laboratório
Unidade/Órgão
ESCOLA DE ENGENHARIA CIVIL E AMBIENTAL EECA
Data do depósito
07/12/2023
Arquivo do INPI/Outros
Palavras-chave
CONSTRUÇÃO CIVIL
